Přivařovací matice WM Ocel

Přivařovací matice

Přivařovací matice WM Ocel

Materiál: Ocel

Povrchová úprava: poměděné

Přivařovací matice jsou určeny k přivaření svařovacím lisem na plech. Pomocí připravené díry v plechu a výstupu na matici, zajistíte přesnou polohu matice

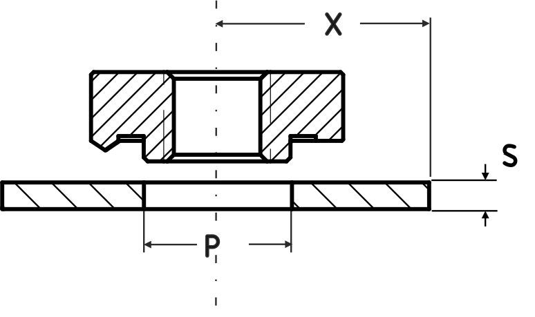
Základní rozměry přivařovacích matic
Rozměry pro montáž matic
ProduktZávit MP1P +0,1D -0,25A +-0,13E minXpřítlak kNProud kA
37/WM3M34,374,47,821,50,793,951,8 – 2,4 16 – 17
37/WM4M45,515,559,422,60,794,751,8 – 2,416 – 18
37/WM5M56,326,3511,183,80,795,602,0 – 2,618 – 19
37/WM6M68,018,0513,254,61,246,652,3 – 2,719 – 21
Domů » Lisovací prvky » Materiál lisovacích matic » Lisovací matice Ocel » Přivařovací matice WM Ocel